www.atmhydros.cz

P-GV...

P-GV...
Parametry
ŘadaPNVnější Ø trubkyTypObj. č.DIN 2353kg/100ksLl1S1S2
LL1004S-GV 4 LL038557ELL 41,43112910
LL1006S-GV 6 LL038559ELL 62,13291112
LL1008S-GV 8 LL038560ELL 82,635121214
L5006P-GV 6 L373362EL 63,539101214
L5008P-GV 8 L373363EL 84,940111417
L50010P-GV 10 L373364EL 106,942131719
L40012P-GV 12 L373365EL 128,543141922
L40015P-GV 15 L373366EL 1513,846162427
L40018P-GV 18 L373367EL 1819,548162732
L25022P-GV 22 L373368EL 2226,252203236
L25028P-GV 28 L373369EL 2831,554214141
L25035P-GV 35 L373370EL 3549,463204650
L25042P-GV 42 L373371EL 4272,866215560
S8006P-GV 6 S373372ES 65,945161417
S8008P-GV 8 S373373ES 87,847181719
S80010P-GV 10 S373374ES 1011,049171922
S63012P-GV 12 S373375ES 1213,651192224
S63014P-GV 14 S373376ES 1418,257222427
S63016P-GV 16 S373377ES 1622,357212730
S40020P-GV 20 S373378ES 2034,766233236
S40025P-GV 25 S373379ES 2566,974264146
S40030P-GV 30 S373380ES 3080,980274650
S40038P-GV 38 S373381ES 38119,490295560


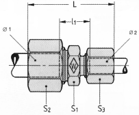
P-GV.../... (Spojka přímá redukovaná)

P-GV.../... (Spojka přímá redukovaná)
Parametry
ŘadaPNØ1*Ø2*TypObj. č.kg/100ksLl1S1S2S3
LL10064S-GV 6/4 LL0600651,832,510,5111210
LL10084S-GV 8/4 LL0242142,13412,5121410
L50086P-GV 8/6 L3745304,44011141714
L500106PGV 10/6 L3745315,44112171914
L500108P-GV 10/8 L6029205,64112171917
L400126P-GV 12/6 L6026546,44213192214
L400128P-GV 12/8 L3745327,24213192217
L4001210P-GV 12/10 L37453384314192219
L4001510P-GV 15/10 L37453411,444,515242719
L4001512P-GV 15/12 L37453511,844,515242722
L4001810P-GV 18/10 L60265514,14615,5273219
L4001812P-GV 18/12 L37453615,74615,5273222
L4001815P-GV 18/15 L37453717,547,516,5273227
L2502215P-GV 22/15 L37453821,449,518,5323627
L2502218P-GV 22/18 L37476223,85018323632
L2502822P-GV 28/22 L60436832,65421414136
S6301612P-GV 16/12 S37453922,35420273024
S4002016P-GV 20/16 S3745403062,523323630
S4002516P-GV 25/16 S60447152,66822,5414630
S4002520P-GV 25/20 S37454155,27125,5414636
* Ø1, Ø2 - vnější průměry trubek

P-WV...

P-WV...
Vnější Ø trubky 4-12mm = profilový materiál
ŘadaPNØ*TypObj. č.DIN 2353kg/100ksL2lS1S2
LL1004S-WV 4 LL038576KLL 42,52111810
LL1006S-WV 6 LL038578KLL 62,7219,51112
LL1008S-WV 8 LL038579KLL 83,82311,51214
L5006P-WV 6 L373385KL 64,927121214
L5008P-WV 8 L373386KL 87,629141417
L50010P-WV 10 L373387KL 109,630151719
L40012P-WV 12 L373388KL 1213,532171922
L40015P-WV 15 L373389KL 1515,836211927
L40018P-WV 18 L373390KL 1823,94023,52432
L25022P-WV 22 L373391KL 2231,74427,52736
L25028P-WV 28 L373392KL 2842,04730,53641
L25035P-WV 35 L373393KL 3575,95634,54150
L25042P-WV 42 L373394KL 42107,863405060
S8006P-WV 6 S373395KS 68,531161417
S8008P-WV 8 S373396KS 811,732171719
S80010P-WV 10 S373397KS 1016,13417,51922
S63012P-WV 12 S373398KS 1220,53821,52224
S63014P-WV 14 S373399KS 1420,740221927
S63016P-WV 16 S373400KS 16254324,52430
S40020P-WV 20 S373401KS 2040,74826,52736
S40025P-WV 25 S373402KS 2577,654303646
S40030P-WV 30 S373403KS 3097,46235,54150
S40038P-WV 38 S373404KS 38131,872415060
*Ø = vnější průměr trubky

P-TV...

Vnější průměr trubky 4-12 mm = profilový materiál

P-TV...
Parametry
ŘadaPNØ*TypObj. č.DIN 2353kg/100ksL2**lS1S2
LL1004S-TV 4 LL038600QLL 42,82111810
LL1006S-TV 6 LL038602QLL 63,7219,51012
LL1008S-TV 8 LL038603QLL 85,12311,51214
L5006P-TV 6 L373408QL 67,127121214
L5008P-TV 8 L373409QL 810,129141417
L50010P-TV 10 L373410QL 1013,030151719
L40012P-TV 12 L373411QL 1217,732171922
L40015P-TV 15 L373412QL 1523,236211927
L40018P-TV 18 L373413QL 1835,44023,52432
L25022P-TV 22 L373414QL 2244,34427,52736
L25028P-TV 28 L373415QL 2861,14730,53641
L25035P-TV 35 L373416QL 3590,15634,54151
L25042P-TV 42 L373417QL 42136,863405060
S8006P-TV 6 S373418QS 612,031161417
S8008P-TV 8 S373419QS 815,732171719
S80010P-TV 10 S373420QS 1021,23417,51922
S63012P-TV 12 S373421QS 1228,53821,52224
S63014P-TV 14 S373422QS 1428,540221927
S63016P-TV 16 S373423QS 1635,74324,52430
S40020P-TV 20 S373424QS 2055,84826,52736
S40025P-TV 25 S373425QS 25106,754303646
S40030P-TV 30 S373426QS 30134,96235,54150
S40035P-TV 35 S373427QS 35202,272415060
*Ø = vnější průměr trubky
**L2 = přibližná délka při dotažené matici

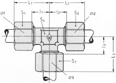
P-TV.../.../... (T-spojka redukovaná)

P-TV.../.../... (T-spojka redukovaná)
Parametry
ŘadaPNØ1Ø2Ø3TypObj. č.kg/100ksl1l2l3L1L2L3S1S2S3S4
L50010106P-TV 10/10/6 L37454212,515151530303017191417
L50010108P-TV 10/10/8 L37454312,815151530303017191717
L40012126P-TV 12/12/6 L30263516,417171732323222221419
L40012128P-TV 12/12/8 L37454416,817171732323222221719
L400121210P-TV 12/12/10 L37454516,817171732323222221919
L400121215P-TV 12/12/15 L37454619,521212136363622222719
L40015158P-TV 15/15/8 L37454720,521212136363627271719
L400151510P-TV 15/15/10 L60518721,221212136363627271919
L400151212P-TV 15/12/12 L37454919,221212136363627222219
L400151512P-TV 15/15/12 L37454821,721212136363627272219
L400151215P-TV 15/12/15 L60695721,221212136363627222719
L400181212P-TV 18/12/12 L37455228,523,5242440393932222224
L400181810P-TV 18/18/10 L37455030,423,523,52440403932321924
L400181812P-TV 18/18/12 L37455130,423,523,52440403932322224
L400181815P-TV 18/18/15 L60501831,823,523,52440403932322724
L250222210P-TV 22/22/10 L37455339,427,527,52844444336361927
L250222215P-TV 22/22/15 L37455441,627,527,52844444336362727
L250282222P-TV 28/22/22 L60659060,630,530,530,547474741363636
L250282822P-TV 28/28/22 L60591660,830,530,530,547474741413636
S630121216P-TV 12/12/16 S60516033,225,525,524,542424324243024
S630161610P-TV 16/16/10 S60509535,824,524,524,543434230302224
S630161612P-TV 16/16/12 S6049253624,524,524,543434230302424
* vnější průměr trubky
** délka při dotažených maticích

Další T-spojky na vyžádání

P-KV...

P-KV...
Parametry
ŘadaPNØ**TypObj. č.DIN 2353kg/100ksL2**lS1S2
LL1004S-KV 4 LL038624ZLL 43,02111910
LL1006S-KV 6 LL038626ZLL 64,0219,5912
LL1008S-KV 8 LL038627ZLL 86,02311,51214
L5006P-KV 6 L373408ZL 67,127121214
L5008P-KV 8 L373409ZL 810,129141417
L50010P-KV 10 L373410ZL 1013,030151719
L40012P-KV 12 L373411ZL 1217,732171922
L40015P-KV 15 L373412ZL 1523,236211927
L40018P-KV 18 L373413ZL 1835,44023,52432
L25022P-KV 22 L373414ZL 2244,34427,52736
L25028P-KV 28 L373415ZL 2861,14730,53641
L25035P-KV 35 L373416ZL 3590,15634,54151
L25042P-KV 42 L373417ZL 42136,863405060
S8006P-KV 6 S373418ZS 612,031161417
S8008P-KV 8 S373419ZS 815,732171719
S80010P-KV 10 S373420ZS 1021,23417,51922
S63012P-KV 12 S373421ZS 1228,53821,52224
S63014P-KV 14 S373422ZS 1428,540221927
S63016P-KV 16 S373423ZS 1635,74324,52430
S40020P-KV 20 S373424ZS 2055,84826,52736
S40025P-KV 25 S373425ZS 25106,754303646
S40030P-KV 30 S373426ZS 30134,96235,54150
S40035P-KV 35 S373427ZS 35202,272415060
*Ø = vnější průměr trubky
**L2 = přibližná délka při dotažené matici